из книги Э.Н. Орлова и Е.Р. Варченко "Автомобили УАЗ" техническое обслуживание и ремонт
Система охлаждения.
Система охлаждения
(рис. 25) жидкостная, закрытая, с принудительной циркуляцией.
Рис. 25 Схема системы охлаждения двигателя
1 - радиатор отопителя
2 - кран отопителя
3 - головка блока цилиндров
4 - отверстия водораспределительной трубы
5 - прокладка
6 - водораспределительная труба
7 - термостат
8 - выпускной патрубок
9 - заливная горрловина
10 - жалюзи
11 - пробка
12 - метка минимум
13 - бачок
14 - насос системы охлаждения
15 - крыльчатка
16 - шкив
17 - вентилятор
18 - радиатор
19 - сливной кран радиатора
20 - приемный патрубок
21 - блок цилиндров
22 - сливной кран блока цилиндров
В качестве охлаждающей жидкости применяется низко замерзающая жидкость тосол А-40. При температуре окружающего воздуха ниже минус 40 С применяется жидкость тосол А-65. Допускается применение воды.
Для нормальной работы двигателя температура охлаждающей жидкости должна поддерживаться в пределах 80...90 С. Это достигается при помощи автоматически действующего термостата и жалюзи, управляе мых водителем.
Для контроля температуры охлаждающей жидкости в щитке приборов имеется электрический указатель, датчик которого ввернут в полость кронштейна водяного насоса. Кроме того, о перегреве охлаждающей жидкости сигнализирует контрольная лампа с красным светофильтром, установленная на щитке приборов и соединенная электропроводом с датчиком, ввернутым в верхний бачок радиатора. Контрольная лампа загорается при достижении охлаждающей жидкостью температуры 92...98 С При загорании контрольной лампы необходимо открыть жалюзи радиатора.
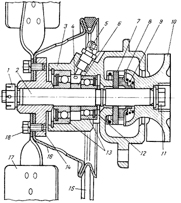
Рис. 26 Насос системы охлаждения двигателя
1 - гайка
2 - вал
3 - корпус насоса
4 - контрольное отверстие выхода смазки
5 - пресс-масленка
6 - распорная втулка
7 - уплотнительная шайба
8 - резиновая манжета
9 - пружина
10 - крыльчатка
11 - болт крепления крыльчатки
12 - контрольное отверстие для выхода жидкости
13 - подшипники
14 - ступица вала вентилятора
15 - ремень
16 - шкив
17 - вентилятоп
18 - болт
УАЗ-2206, УАЗ-3303 с двигателями УМЗ-4178, УМЗ-4179, УМЗ-4218, ЗМЗ-4021 и ЗМЗ-4104 жидкостная, закрытая, с принудительной циркуляцией охлаждающей жидкости центробежным насосом.
Система охлаждения УАЗ-3741, УАЗ-3962, УАЗ-3909, УАЗ-2206, УАЗ-3303, общее устройство.
В качестве охлаждающей жидкости в системе охлаждения применяется низкозамерзающая жидкость ОЖ-40 или ТОСОЛ-А40М, в исключительных случаях допускается применение воды. При температуре окружающего воздуха ниже минус 40 градусов в системе нужно применять ОЖ-65 или ТОСОЛ-А65М.
Объем системы охлаждения, включая , на автомобилях УАЗ-3741, УАЗ-39094, УАЗ-3303 и УАЗ-33036 — 13,2-13,4 литра, на УАЗ-3962, УАЗ-3909, УАЗ-2206 — 14,4-14,6 литра. На автомобилях УАЗ-37411 и УАЗ-33031 оборудованных предпусковым подогревателем, объем системы охлаждения, включая отопитель и подогреватель — 13,9-14,1 литра, а на УАЗ-39621 — 15,1-15,3 литра.
Схема системы охлаждения двигателей УМЗ-4178, УМЗ-4179, УМЗ-4218, ЗМЗ-4021 и ЗМЗ-4104 на УАЗ-3741, УАЗ-3962, УАЗ-3909, УАЗ-2206, УАЗ-3303.
Для нормальной работы двигателя температура охлаждающей жидкости должна поддерживаться в пределах: для двигателей УМЗ-4178, УМЗ-4179, УМЗ-4218 — 70-90 градусов, для двигателей ЗМЗ-4021 и ЗМЗ-4104 — 80-90 градусов.
Это осуществляется с помощью термостата, который автоматически регулирует количество жидкости, проходящей через радиатор, и жалюзи, которые регулируют количество воздуха, охлаждающего радиатор. В холодное время систему охлаждения нужно защитить утеплительным чехлом с откидным клапаном.
Температура охлаждающей жидкости контролируется температуры, расположенным на панели приборов и соединенным электропроводом с термодатчиком, ввернутым в корпус термостата. Кроме того, о перегреве охлаждающей жидкости сигнализирует лампа со светофильтром красного цвета, установленная на щитке приборов и соединенная электропроводом с , ввернутым в верхний бачок радиатора.
Сигнальная лампа загорается при достижении охлаждающей жидкостью температуры 91-98 градусов для автомобилей, работающих в районах с умеренным климатом, и 102-109 градуса для автомобилей, работающих в районах с тропическим климатом.
Причинами перегрева могут быть: пониженный уровень жидкости в радиаторе, слабое натяжение ремня вентилятора, значительное отложение накипи в рубашке охлаждения двигателя и радиаторе, движение с закрытыми жалюзи и закрытым клапаном утеплительного чехла. В случае загорания сигнальной лампы надо немедленно установить и устранить причину перегрева.
Водяной насос.
Водяной насос — центробежного типа. В его конструкции применен шарико-роликовый подшипник, изготовленный заодно с валом насоса. Подшипник имеет специальные уплотнения, которые обеспечивают сохранение смазки, заложенной при изготовлении. Дополнительной смазки в процессе эксплуатации подшипник не требует. Подтекание охлаждающей жидкости через контрольное отверстие, расположенное на корпусе насоса снизу, указывает на неисправность сальникового уплотнения.
Термостат.
С твердым наполнителем, помещается в корпусе. Работа двигателя без термостата недопустима, так как при удалении термостата основной поток жидкости будет циркулировать по малому кругу системы охлаждения, минуя радиатор, что приведет к перегреву двигателя.
Пробка радиатора.
Герметично закрывает радиатор и сообщает систему охлаждения только с расширительным бачком через выпускной и впускной клапаны. Герметизирующая прокладка исключает выход паров или охлаждающей жидкости через зазор между горловиной радиатора и запорной пружиной пробки радиатора. Для нормальной работы пробки радиатора необходимо, чтобы были исправны прокладки клапанов и прокладка между горловиной радиатора и запорной пружиной.
Муфта привода вентилятора.
На часть автомобилей УАЗ-3741, УАЗ-3962, УАЗ-3909, УАЗ-2206, УАЗ-3303 устанавливается муфта привода вентилятора предназначенная для снижения расхода топлива, уменьшения шума вентилятора, облегчения прогрева холодного двигателя и поддержания теплового режима двигателя в оптимальных пределах.
В зазоре между ведущей и ведомой частями муфты находится высоковязкая рабочая жидкость, посредством которой вращение передается от вала муфты, установленного на ступице шкива насоса системы охлаждения к корпусу муфты и закрепленному на нем вентилятору. Включение и выключение муфты происходит автоматически в зависимости от температуры воздуха за радиатором. Муфта выполнена не разборной.
Следует иметь ввиду, что соединение вала муфты со ступицей имеет левую резьбу. Для нормальной работы вязкостной муфты, ее наружную поверхность следует содержать в чистоте. Если муфта перестает включаться или выключаться необходимо провести ее осмотр и при необходимости заменить муфту.
22 ..СИСТЕМА ОХЛАЖДЕНИЯ ДВИГАТЕЛЯ АВТОМОБИЛЯ УАЗ-469
Система охлаждения двигателя (рис. 43) жидкостная, закрытая, с принудительной циркуляцией жидкости.
Систему охлаждения заполняйте мягкой пресной водой - с малым содержанием солей.
Зимой можно применять жидкость с низкой температурой замерзания.- антифриз. При температуре до минус 40°С пользуйтесь жидкостью марки 40, при более низкой температуре - марки 65. Помните, что антифриз ядовит.
Поддерживайте правильный температурный режим двигателя 80... 90°С. Это уменьшает износ двигателя и повышает его экономичность. Температуру поддерживайте с помощью жалюзи
Рис. 43. Схема системы охлаждения двигателя:
1 - сливной край блока цилиндров; 2- прокладка; 5 - головка цилиндров;
4 - отверстие водораспределительной трубы; 5 - водораспределительная
труба; € - термостат; 7 - выпускной патрубок; 8 - перепускной канал; 9 -
крыльчатка; 10 - слив; 1 - вентилятор; 12 - радиатор; 18 - сливной кран
радиатора; 14 - приемный патрубок; 15 - блок цилиндров; 16 - заливная
горловина радиатора; 17 - шланг; 18 - пробка; 19 - расширительный бачок;
20 - метка «минимум»

Рис. 44. Насос системы охлаждения двигателя:
I - гайка; 2 -валик: 3 - корпус насоса; 4 - контрольное отверстие выхода
смазки; 5 - пресс-масленка; 6 - распорная втулка; 7 - уплотнительная
шайба; 8 - резиновая манжета; 9 -пружина; 10 - крыльчатка; 11 - болт
крепления крыльчатки; 12 - контрольное отверстие для выхода жидкости; 13
- подшипники; 14 - ступица шкива вентилятора
И клапана утеплителя радиатора. Для контроля температуры охлаждающей жидкости в кронштейне водяного насоса имеется датчик, а на щитке приборов - электрический указатель. Кроме того, на панели приборов установлена контрольная красная лампочка, загорающаяся при повышении температуры жидко* сти до 106... 109СС. Причинами повышения температуры жид» кости могут явиться пониженный уровень жидкости в радиаторе, слабо натянутый ремень вентилятора, движение автомобиля с закрытыми жалюзи и закрытым клапаном утеплителя радиатора. Датчик контрольной лампы установлен в верхнем бачке радиатора. При загорании лампы немедленно устраните причину перегрева.
Насос (рис. 44) центробежного типа, приводится в действие клиновидным ремнем от шкива коленчатого вала. Уплотнение валика насоса осуществляется с помощью самоподжимного сальника. Подтекание охлаждающей жидкости через контрольное отверстие внизу корпуса насоса указывает на неисправность сальника. Закрывать контрольное отверстие при подтекании из него жидкости нельзя, так как она попадет в шариковые подшипники и может вывести их из строя.
Термостат (рис. 45) с твердым наполнителем, помещается в выпускном патрубке. Клапан термостата начинает открываться при температуре охлаждающей жидкости 70±2°С, а при температуре 83±2°С открывается полностью.
Термостат автоматически поддерживает необходимую температуру охлаждающей жидкости в двигателе, отключая или включая радиатор. В холодную погоду в зимнее время, особенно при малых нагрузках двигателя, чтобы не заморозить радиатор, всегда держите жалюзи закрытыми и только при увеличении температуры охлаждающей жидкости до 90°С слегка их приоткрывайте.- ч
Пробка радиатора (рис. 46) герметично закрывает радиатор и сообщает систему охлаждения с атмосферой только через выпускной и впускной клапаны. Выпускной клапан открывается при повышении давления в системе до 0,45... 0,65 кгс/см2 и выпускает пар. Впускной клапан открывается при разрежении в системе 0,01 ... 0,1 кгс/см2 и впускает атмосферный воздух в радиатор. Для нормального действия пробки необходимо, чтобы прокладки клапанов были исправны.
Техническое обслуживание системы охлаждения. В процессе эксплуатации автомобиля периодически удаляйте из системы охлаждения накипь, сор, регулируйте натяжение ремня вентилятора и смазывайте подшипники водяного насоса (см. таблицу смазки), а также промывайте радиатор снаружи.

Рис. 45. Схема работы термостата:
1 - клапан термостата закрыт; 5 - клапан термостата открыт
Накипь и сор удаляйте промывкой сильной струей чистой воды. Двигатель и радиатор промывайте раздельно, чтобы ржавчина, накипь и осадок из рубашки охлаждения двигателя не засоряли радиатор. Перед промывкой двигателя выньте из патрубка термостат.
Направление струи должно быть обратным направлению движения воды при нормальной работе системы (рис. 47).
Запрещается использовать для промывки рубашки охлаждения щелочные растворы, так как они вызывают коррозию головки и блока цилиндров двигателя.
При значительных отложениях накипи в трубках радиатора выполните следующее:
1. Снимите радиатор с автомобиля и залейте в него десятипроцентный раствор едкого натрия (каустическая сода), предварительно нагретый до температуры 90°С и процеженный.
2. Через 30 мин раствор из радиатора слейте.
3. Промойте радиатор струей горячей воды в направлении, обратном циркуляции воды в двигателе, в течение 30... 40 мин под напором 0,5 кге/см2 (рис. 48).
Натяжение ремня вентилятора регулируйте поворотом генератора. Нормальный прогиб ремня должен быть 8... 14 мм при нажатии на него с усилием 4 кгс (рис. 49).
В случае появления пробуксовки ремня вентилятора уве--личьте натяжение.
Система охлаждения и отопления автомобилей вагонной компоновки УАЗ-374195, УАЗ-396295, УАЗ-396255, УАЗ-390995, УАЗ-390945, УАЗ-220695, УАЗ-330395, УАЗ-330365, с инжекторными двигателями ЗМЗ-4091 Евро-3 и ЗМЗ-40911 Евро-4, жидкостная, закрытая, с принудительной циркуляцией охлаждающей жидкости.
Система охлаждения автомобилей вагонной компоновки УАЗ-374195, УАЗ-396295, УАЗ-396255, УАЗ-390995, УАЗ-390945, УАЗ-220695, УАЗ-330395, УАЗ-330365 включает в себя:
Система охлаждения автомобилей УАЗ вагонной компоновки с двигателями ЗМЗ-4091 Евро-3 и ЗМЗ-40911 Евро-4, согласно руководства по эксплуатации, должна быть круглогодично заправлена низкозамерзающей охлаждающей ТОСОЛ-А40М или ОЖ-40 «Лена». При температуре окружающего воздуха ниже минус 40 градусов, в системе охлаждения должна применяться низкозамерзающая жидкость ТОСОЛ-A65М или ОЖ-65 «Лена».
Емкость системы охлаждения двигателей ЗМЗ-4091 Евро-3 и ЗМЗ-40911 Евро-4, включая систему отопления, составляет:
Для автомобилей УАЗ-374195 и УАЗ-330395: 12,7 литра.
- Для автомобилей УАЗ-396295, УАЗ-396255, УАЗ-390995, УАЗ-220695: 13,7 литра.
- Для автомобилей УАЗ-330365 и УАЗ-390945: 13,6 литра.
Рабочая температура охлаждающей жидкости в системе охлаждения должна находиться в пределах 80-105 градусов. Допускается кратковременная, не более пяти минут, работа двигателей ЗМЗ-4091 Евро-3 и ЗМЗ-40911 Евро-4 при повышении температуры охлаждающей жидкости до 109 градусов. В случае загорания контрольной лампы перегрева охлаждающей жидкости надо немедленно установить и устранить причину перегрева.
Система отопления УАЗ вагонной компоновки с двигателями ЗМЗ-4091 Евро-3 и ЗМЗ-40911 Евро-4.
Жидкостная, совмещенная с системой охлаждения двигателя, система отопления автомобилей УАЗ-374195, УАЗ-396295, УАЗ-396255, УАЗ-390995, УАЗ-390945, УАЗ-220695, УАЗ-330395, УАЗ-330365 включает в себя:
Радиатор отопителя кабины.
- Радиатор отопителя салона, кроме автомобилей УАЗ-374195, УАЗ-330395, УАЗ-330365.
- Дополнительный насос системы отопления.
- Штуцер подачи охлаждающей жидкости в отопитель салона.
- Кран включения отопителей с управлением.
- Сливной кран или пробка системы отопления.
Система отопления на автомобилях с двигателем ЗМЗ-4091 Евро-3 отличается от системы отопления автомобилей с двигателем ЗМЗ-40911 Евро-4 местом расположения дополнительного электрического насоса системы. В первом случае он включен в магистраль радиатора отопителя кабины, а во втором — в магистраль радиатора отопителя салона.
Для нормальной работы отопителей кабины и салона, температура охлаждающей жидкости в системе охлаждения двигателя должна быть не менее 80 градусов. Для включения обоих отопителей в работу, необходимо дистанционной из кабины или вручную открыть кран включения отопителей и в случае надобности включить дополнительный насос системы отопления.
Для повышения интенсивности обогрева кабины и салона оба отопителя оснащены электродвигателями МЭ236 мощностью 25 Ватт с лопастным вентилятором. Их включение и выключение производится отдельными выключателями на панели приборов. Силу внешнего потока воздуха, проходящего через радиатор отопителя кабины, может регулироваться изменением положения крышки вентиляционного лючка передка.
При низких температурах воздуха можно установить на автомобиль утеплитель, который крепится на облицовке радиатора с помощью винтов. В этом случае можно будет регулировать температуру жидкости в системе охлаждения и отопления двигателя путем закрытия или открытия клапана утеплителя.
На автомобилях УАЗ с двигателем УМЗ-417 применяется жидкостная, закрытая система охлаждения, с принудительной циркуляцией охлаждающей жидкости центробежным насосом системы охлаждения. На автомобиль УАЗ-3151 и некоторые другие модели, в зависимости от комплектации, может быть устанавливаться предпусковой , интегрированный в систему охлаждения. В качестве охлаждающей жидкости применяется низкозамерзающая жидкость.
Для нормальной работы двигателя УМЗ-417 температура охлаждающей жидкости должна поддерживаться в пределах 70-90 градусов. Такая температура достигается при помощи автоматически действующего термостата, который регулирует количество жидкости проходящей через радиатор и жалюзи, с помощью которых регулируют количество воздуха, охлаждающего радиатор.
Контроль температуры охлаждающей жидкости в системе охлаждения УМЗ-417.
Для контроля температуры охлаждающей жидкости на щитке приборов имеется электрический , датчик которого ввернут в полость кронштейна водяного насоса. Кроме того, о перегреве охлаждающей жидкости сигнализирует контрольная лампа с красным светофильтром, установленная на щитке приборов и соединенная электропроводом с датчиком, ввернутым в верхний бачок радиатора.
Контрольная лампа загорается при достижении охлаждающей жидкостью температуры 92-98 градусов. При загорании контрольной лампы необходимо открыть жалюзи радиатора. Причинами перегрева могут быть:
— пониженный уровень жидкости в радиаторе
— слабое натяжение ремня вентилятора
— движение с закрытыми жалюзи или закрытым клапаном утеплительного чехла
Обслуживание системы охлаждения двигателя УМЗ-417.
Уровень охлаждающей жидкости в расширительном бачке проверяется на холодном двигателе, он должен быть на 30-40 мм выше метки «Мин». При понижении уровня низкозамерзающей жидкости в результате ее выкипания, в систему охлаждения необходимо доливать чистую воду, так как из жидкости в первую очередь испаряется вода, из-за того, что точка кипения воды значительно ниже, чем этиленглнколя. При убывании уровня жидкости в результате подтекания, необходимо после устранения причины подтекания долить низкозамерзающую жидкость.
Низкозамерзающую жидкость в системе охлаждения двигателя УМЗ-417 заменяется через каждые 2 года или через 60 000 километров пробега. Перед заливкой свежей жидкости рекомендуется промыть систему охлаждения чистой водой. Слив жидкости из системы охлаждения осуществляется через два крана. Один расположен на нижнем бачке радиатора, другой - на блоке цилиндров, или, если на УАЗ установлен предпусковой подогреватель, то на его котле.
Обслуживание водяного насоса системы охлаждения.
Центробежного типа, приводится в действие клиновидным ремнем от шкива коленчатого вала. В конструкции насоса применен шарико-роликовый подшипник, изготовленный заодно с валом насоса. Подшипник имеет специальные уплотнения, которые обеспечивают сохранение смазки, заложенной при изготовлении. Дополнительной смазки в процессе эксплуатации подшипник не требует. Подтекание охлаждающей жидкости через контрольное отверстие указывает на неисправность сальникового уплотнения.
На часть автомобилей УАЗ с двигателями УМЗ-4178 и УМЗ-4179 может устанавливаться водяной насос в конструкции которого применены шариковые подшипники. В таких насосах полость уплотняется при помощи резиновой манжеты, плотно прижимающейся пружиной к уплотнительной шайбе и валу насоса.
Подшипники такого водяного насоса смазываются через одно очередное техническое обслуживание смазкой типа Литол-24 через пресс-масленку до выхода смазки из контрольного отверстия. Лишнюю смазку необходимо убрать, так как она может попасть на ремень вентилятора.
Проверяется нажатием на него между шкивами водяного насоса и генератора с усилием 39 Н. Прогиб ремня при этом должен быть в пределах 8-14 мм. Для регулировки натяжного ремня необходимо ослабить болты крепления , сместить его в необходимом направлении, закрепить болты и еще раз проверить натяжение ремня.
Проверка работы термостата системы охлаждения.
Термостат запирающего типа с твердым наполнителем, размещается в выпускном патрубке расположенном на кронштейне насоса системы охлаждения, и действует в результате движения штока в баллоне термостата. Клапан термостата начинает открываться при температуре охлаждающей жидкости в 69-72 градуса и полностью открывается при температуре 81-85 градусов. Термостат, включая или отключая радиатор, автоматически поддерживает необходимую температуру охлаждающей жидкости в двигателе.
Работа двигателя УМЗ-417 без термостата недопустима, так как при его удалении основной поток охлаждающей жидкости будет циркулировать по малому кругу системы охлаждения, минуя радиатор, что приведет к перегреву двигателя.
Работа термостата проверяется одновременно с промывкой системы охлаждения, а также при систематических перегревах двигателя, при исправной работе системы питания и зажигания. Для проверки, термостат вместе с термометром помещаются в сосуд с водой, нагретой до температуры 90-100 градусов. Затем при постепенном охлаждении воды контролируется температура начала и конца закрытия клапана термостата. Неисправный термостат заменяется новым.
Проверить исправность термостата можно также по нагреванию приемного патрубка верхнего бачка радиатора при прогреве двигателя. При неисправном термостате этот патрубок прогревается сразу же после пуска двигателя, при исправном - после того как температура воды в блоке цилиндров двигателя достигает температуры 60-70 градусов по указателю температуры воды на щитке приборов.
Пробка радиатора системы охлаждения.
Герметично закрывает радиатор и сообщает систему охлаждения с расширительным бачком только через выпускной и впускной клапаны. Выпускной клапан открывается при повышении давления в системе охлаждения до 44.1-58.8 кПа и выпускает охлаждающую жидкость или пары в расширительный бачок. Впускной клапан открывается при разрежении в системе 0.98-9.8 кПа и впускает охлаждающую жидкость из расширительного бачка в радиатор.
Герметизирующая прокладка пробки радиатора исключает выход паров или охлаждающей жидкости через зазор между горловиной радиатора и запорной пружиной пробки радиатора. Для нормальной работы пробки радиатора необходимо, чтобы были исправны прокладки клапанов и прокладка между горловиной радиатора и запорной пружиной.
Вентилятор и муфта привода вентилятора системы охлаждения.
Четырехлопастной, сборный, крепится к ступице водяного насоса. Вентилятор приводится во вращение вместе с водяным насосом клиновидным ремнем от коленчатого вала. На часть автомобилей УАЗ может устанавливаться вязкостная муфта привода вентилятора предназначенная для снижения расхода топлива, уменьшения шума вентилятора, облегчения прогрева холодного двигателя и поддержания теплового режима двигателя в оптимальных пределах.
В зазоре между ведущей и ведомой частями муфты находится высоковязкая рабочая жидкость, посредством которой вращение передается от вала муфты, установленного на ступице шкива насоса системы охлаждения к корпусу муфты и закрепленному на нем вентилятору. Включение и выключение муфты происходит автоматически в зависимости от температуры воздуха за радиатором. Муфта выполнена не разборной.
В случае засорения перепускного отверстия, муфта перестает включаться или включается не полностью, при этом двигатель может перегреваться. Для устранения указанной неисправности следует отвернуть муфту от ступицы, снять вентилятор и вывернуть из корпуса муфты две шпильки. Затем необходимо слить рабочую жидкость через отверстия для шпилек и тщательно промыть внутреннюю полость муфты бензином.
Дать бензину полностью стечь и залить в муфту через одно из отверстий 40 грамм полиметилсилоксановой жидкости ПМС-10000. Второе отверстие надо держать открытым для выхода воздуха. После этого завернуть шпильки в корпус, закрепить вентилятор и установить муфту на ступицу шкива насоса системы охлаждения. Следует учитывать, что соединение вала муфты со ступицей имеет левую резьбу. Наружную поверхность муфты следует содержать в чистоте.
Жалюзи системы охлаждения.
Установлены перед радиатором. Управление створками жалюзи осуществляется с места водителя при помощи тяги. При вытягивании рукоятки тяги на себя жалюзи закрываются, при задвигании — открываются.
Проверка и обслуживания жалюзи системы охлаждения.
Жалюзи проверяются на полноту открытия при задвинутой до отказа рукоятке привода. Если створки жалюзи при этом открываются не полностью, то необходимо выполнить следующие операции:
— ослабить винт крепления тяги привода в шарнирной муфте рычага, расположенного на жалюзи
— полностью открыть створки жалюзи, провернув рычаг привода против часовой стрелки
— задвинуть до отказа рукоятку привода жалюзи и закрепить в этом положении тягу привода в шарнирной муфте рычага
— проверить, полностью ли открываются и закрываются створки жалюзи, задвигая или выдвигая рукоятку привода
Если рукоятка привода передвигается с большим усилием, то надо смазать оси створок жалюзи и тягу. Тягу смазывают, предварительно вынув ее из оболочки и очистив. В холодное время года, дополнительно к жалюзи, рекомендуется установить утеплительный чехол с откидным клапаном.
Замена охлаждающей жидкости в системе охлаждения УМЗ-417.
При сливе жидкости снимается пробка радиатора, выворачивается пробка заливной воронки подогревателя и открывается кран отопителя. Остаток жидкости в расширительном бачке и шланге, соединяющем его с радиатором, удаляется через отсоединенный шланг от радиатора или подняв бачок выше радиатора.
При отсутствии низкозамерзающей жидкости допускается применять чистую воду, по возможности не жесткую, чтобы избежать интенсивных отложений накипи, которые приведут к перегреву двигателя и повышенному расходу топлива. В этом случае, при температуре окружающего воздуха ниже 0 градусов, шланг, соединяющий радиатор с расширительным бачком, необходимо отсоединить от расширительного бачка и направить его вниз для отвода пара из радиатора. Наличие воды в расширительном бачке при отрицательных температурах не допускается.
Промывка системы охлаждения двигателя УМЗ-417.
По мере использования воды в качестве охлаждающей жидкости эффективность системы охлаждения заметно снижается в результате отложения накипи на внутренних ее поверхностях и как следствие ухудшения циркуляции воды в системе. В этом случае систему охлаждения надо промывать. Двигатель и радиатор промываются раздельно, чтобы ржавчина, накипь и осадок из рубашки охлаждения двигателя не засоряли радиатор. Перед промывкой двигателя необходимо снять термостат.
Направление струи при промывке должно быть обратным направлению движения воды при нормальной работе системы охлаждения. Запрещается использовать для промывки рубашки охлаждения блока двигателя щелочные растворы, так как они вызывают коррозию головки и блока цилиндров двигателя.